English
子公司导航
尊龙凯时平台入口真空玻璃
智能装备制造
擎天系列
金钢系列
雷霆系列
风行系列
智慧工厂
节能材料
尊龙凯时平台入口V玻
社会责任
可持续发展
关顾员工
愿景目标
服务支持
客服宣言
售前服务
售后服务
我有疑问
常见问题
关于我们
企业概况
尊龙凯时平台入口荣誉
发展历程
科技研发
联系我们
新闻中心
公司动态
成功故事
媒体报道
行业新闻
信息公示
人力招聘
人才理念
社会招聘
校园招聘
新媒体
图片
视频
展会
快速帮助入口
金钢系列
雷霆系列
风行系列
智慧工厂
公司动态
成功故事
媒体报道
行业新闻
首页
智能装备制造
金钢系列
雷霆系列
风行系列
智慧工厂
节能材料
尊龙凯时平台入口V玻
社会责任
可持续发展
关顾员工
愿景目标
服务支持
客服宣言
售前服务
售后服务
我有疑问
常见问题
关于我们
企业概况
尊龙凯时平台入口荣誉
发展历程
科技研发
联系我们
新闻中心
公司动态
成功故事
媒体报道
行业新闻
人力招聘
人才理念
社会招聘
校园招聘
新媒体
图片
视频
展会
线上展会
首页
新闻中心
行业新闻
返回
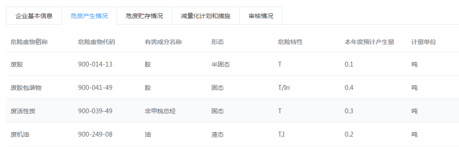
尊龙凯时平台入口机器2022-2023年度危废信息公示
发布时间:2023-02-09
阅读量:1264
一、2022危废产生及转移情况
二、2023年危废计划产生及处置情况
上一条
下一条
相关新闻推荐
更多新闻
2019-02-28
光伏玻璃行业竞争格局和市场化程度
目前,光伏玻璃行业已经形成少数规模化企业的充分竞争的格局,中国的光伏玻璃制造企业占据全球光伏玻璃市场前五名。按光伏玻璃原片产能计算,前五大光伏玻璃生产商在2013年…
阅读全文
2020-12-31
建筑用安全玻璃系列标准研讨会在京召开
11月12日,GB15763建筑用安全玻璃系列标准及建筑玻璃强制性国家标准研讨会在北京召开。中国建材检验认证集团股份有限公司玻璃检验认证院相关领导和各项标准编制的负责人以…
阅读全文
2022-07-18
工信部:上半年光伏压延玻璃产能同比增长121.6%
工信部网站消息,2022年上半年,光伏压延玻璃在产产能同比增长121.6%。6月份光伏压延玻璃行业产量、价格增长较快,但呈现库存较高的态势。上半年,在产企业共计38家,投产…
阅读全文
2016-01-18
工信部将开展平板玻璃等行业化解过剩产能试点
2015年12月24日,工信部于北京召开全国工业和信息化工作会议。回顾2015年,面对工业下行压力持续加大的困难与挑战,工业运行缓中趋稳、稳中有进,转型升级迈出坚实一步。会…
阅读全文